Microsoft Authenticator uygulaması, kullanıcıların Microsoft hesaplarına şifreleri yerine telefonlarıyla giriş yapabilmelerini sağlıyor. Bu uygulama yakında Apple Watch sahiplerinin de hizmetine girecek. Microsoft'un Apple Watch sahiplerinden gelen talep üzerine böyle bir
Apple eylülde üç yeni iPhone, daha büyük ekranlı Apple Watch ve güncellenmiş iPad Pro’ları tanıtacak
Teknoloji dünyası Apple'ın yeni nesil iPhone'larını tanıtmasını bekliyor. Bu cihazlar muhtemelen eylül ayının ikinci haftasında, şirketin genel olarak tercih ettiği zaman aralığında tanıtılacak. Bu yılın iPhone dedikoduları çoğunlukla birbiriyle tutarlıydı
Apple cihazlarından elde edilen biyometrik verilerin işlenmesine yardımcı olacak özel bir sağlık yongası üzerinde çalışıyor. CNBC tarafından incelenen iş ilanları bunu işaret ediyor. Şirket şu anda iPhone için özelleştirilmiş yongalar
Apple'ın akıllı saati Apple Watch, bir kez daha hayat kurtardı. Akıllı saatin kullanıcılarını bir sağlık kuruluşuna danışmaları konusunda uyarması ve ardından yaşananlarla ilgili haberler, daha önce de gündeme gelmişti. Bu
Apple Watch satışları, Apple'ın yüzünü güldürmeye devam ediyor gibi görünüyor. Araştırma şirketi Canalys'in verilerine göre, Cupertino merkezli şirket 2018'in ikinci çeyreğinde 3.5 milyon akıllı saat sattı. Söz konusu sayı, 2017'nin
Apple'ın eylül ayında tanıtacağı yeni cihazların üç yeni iPhone modeliyle sınırlı kalmayacağı düşünülüyor. Cupertino merkezli şirketin dördüncü nesil Apple Watch modellerini de eylülde gözler önüne çıkarması bekleniyor. Yeni nesille birlikte
Apple iOS 12 için hazırladığı ikinci beta sürümünü geliştiricilerle buluşturmaya başladı. Söz konusu sürüm geliştiricilere uygulamalarını yeni işletim sistemiyle uyumlu hâle getirme imkanı tanımasının yanında, Apple'ın gelecekteki ürün yol haritası
Apple'ın yeni Apple Watch ile birlikte görsel açıdan bazı değişiklikler yapması bekleniyor. Bu değişikliklerle birlikte yeni modelin seleflerinden daha rahat biçimde ayırt edilebileceği söyleniyor. Söz konusu değişikliklerden birisinin de fiziksel
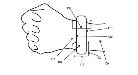
Apple, mevcut Apple cihazlarınıza bağlanabilen bir kan basıncı ölçüm cihazı gibi görünen aygıtın patentini almaya hak kazandı. ABD Ticari Marka ve Patent Ofisi tarafından verilen patentte, söz konusu sistemin genişletilebilir
Apple akıllı saati Apple Watch'un sağlık alanındaki yeteneklerini geliştirmek için oldukça sıkı bir çalışma yürütüyor. Bu çalışmalar doğrultusunda ResearchKit için hazırlanan yeni API sayesinde Apple Watch Parkinson semptomlarını izlemek amacıyla









