Apple, mevcut Apple cihazlarınıza bağlanabilen bir kan basıncı ölçüm cihazı gibi görünen aygıtın patentini almaya hak kazandı.
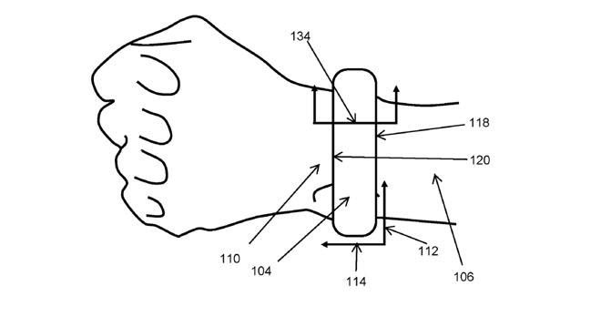
ABD Ticari Marka ve Patent Ofisi tarafından verilen patentte, söz konusu sistemin genişletilebilir bir üye veya yapı barındırdığını, bunun da katı yüzeye veya yapıya monte edilebildiği belirtiliyor. Sistem çok işlevli taşınabilir cihaza eklenebiliyor ya da çok işlevli taşınabilir cihazla iletişim kuracak biçimde ayarlanabiliyor. Patente eklenen fotoğraflar, söz konusu “çok işlevli taşınabilir cihaz” ile Apple Watch’a atıfta bulunulduğunu gösteriyor.
Gelecekte görme ihtimalimizin bulunduğu ürün, Apple’ın gerçek anlamda ilk sağlık ürünü olacaktır ve Amerikan Gıda ve İlaç Yönetimi’nin de onayı gerekecektir. Apple’ın son yıllarda sağlık odaklı yazılım uygulamaları konusunda iddialı çalışmalarının olduğunu da biliyoruz.
“Kelepçe Tasarımları ve Yöntemleri” başlıklı patent başvurusunda altı Apple çalışanının adı geçiyor. Başvuru ise Haziran 2016 tarihinde gerçekleştirilmiş.
Apple 2014 yılında HealthKit platformunu çıkarmıştı ve o zamanda beri bunun işlevselliğini artırmak için çalışıyor. Şirket bu yılın başlarında iOS’te Sağlık Kayıtları’nı desteklemeleri için ABD’deki 12 önde gelen sağlık kuruluşuyla anlaşma imzaladı. Şirket bu yolla sağlık kayıtlarını dijitalleştirmeyi ve tedavi sırasında veri paylaşımını kolaylaştırmayı hedefliyor. Şu anda Apple’ın 39 farklı sağlık kurumuyla anlaşması bulunuyor. Ayrıca Apple, bu hafta başında Sağlık Kayıtları API’sini de geliştiricilerin erişimine açtı.
Apple, Ekim 2017’de de ayrı bir patentin başvurusunu yaptı. O patent de akıllı kan basıncı izleme yöntemiyle ilgiliydi. Ancak Apple’ın almaya hak kazandığı son patent bir açıdan farklı görünüyor, içinde “akıllı” kelimesi geçmiyor.
Aslında Apple, yurt dışındaki mağazalarında Qardio tarafından üretilmiş QardioArm adlı, HealthKit uyumlu kan basıncı monitörü satıyor. Geçtiğimiz kasım ayında ise, yapılan bir araştırma sonucunda Apple Watch’un uyku apnesi veya hipertansiyon gibi hastalıkların tanısı için kullanılabileceği ortaya çıkmıştı.








