Formula 1'de hız en önemli faktör olsa da, pilotların güvenliğini sağlamak organizasyon için daha önemli bir yer tutuyor. Motorsport.com sitesinde yer alan habere göre, bu amaç doğrultusunda kapalı bir kokpit
Ulaşım kategorisi altındaki teknoloji haberleri ve yazıları bu sayfada yer alıyor.
ABD'nin Los Angeles ve San Francisco şehirlerindeki yetkili kurumlar, ulaşım servisi Uber'in sürücülerinin sicillerini kontrol ederken öne sürdüğü kadar titiz davranmadığını düşünüyor. İki şehirdeki bölge savcılıkları, Uber aleyhinde 25 sürücünün
Apple'ın otomotiv sektörüne gireceği dedikodusu, 2015'in en sık gündeme gelen ve en ilginç haberleri arasında zirveye oynuyor. Günün birinde Apple markalı bir otomobil yollara çıkarsa, tasarım itibarıyla görmeye alıştığımız araçlara
Apple'ın Cupertino'daki genel merkezinin yakınlarında sürücüsüz otomobiller için test alanı aradığına dair haberler geçtiğimiz hafta gündeme gelmişti. Bu haber mevcut iş kollarında başarılı bir performans gösteren, ancak büyümesi yatay bir
Apple'ın sürücüsüz bir otomobil üstünde çalıştığına dair dedikodular 2015'in ilk aylarından bu yana sıklıkla konuşuluyor. The Guardian'da yayınlanan bir habere göre, Cupertino merkezli şirket şimdiden otomobillerini test edecek yer arayışına
BMW'nin yükseltilmiş M3 modelleri sunma geleneğinin geçmişi 80'ler ve 90'ların başında boy gösteren efsanevi E30'a kadar dayanıyor. Arada bazı istisnalar olsa da, şirket M3 modellerini genellikle Avrupa pazarına özel tutmayı
BMW, geçtiğimiz mayıs ayında konsept otomobili CSL 3.0 Hommage'ı duyurduğunda hayranlarından biraz karmaşık tepkiler almıştı. 1970'li yılların en sevilen otomobillerinden biri olan CSL 3.0'a saygı için tasarlanan otomobilin çizgilerinin orijinal
Tesla CEO'su Elon Musk, geçtiğimiz hafta şirketinin yılın ikinci çeyreğine ait finansal sonuçlarının açıklanmasının ardından düzenlenen toplantıda yatırımcıların ve finansal analistlerin sorularını yanıtlamıştı. Musk, Model X'in çıkış takvimi ve şirketin
Tesla, her çeyrekte hissedarlarına gönderdiği mektupların sonuncusunda Model X'in önümüzdeki aydan itibaren yollarda gözükmeye başlayacağını doğruladı. Aracı satın alma konusunda hızlı davrananlara teslimatların üçüncü çeyreğin sonlarında başlayacağı belirtilirken, ilk etapta
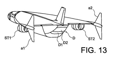
Airbus, geçtiğimiz ay yeni ve oldukça ilginç bir uçağın patentini sessizce aldı. "Hipersonik ve ultra hızlı" şeklinde tanımlanan jet, ses hızının yaklaşık 4.5 katı bir sürate ulaşabiliyor. Söz konusu sürat










