Son Videolar
Tümünü İzle →
Meerkat SXSW 2015'te boy gösterdikten sonra akıllı telefon ile internette canlı yapabilmek, teknoloji dünyasının gözde konseptleri arasına girdi. Twitter Periscope ile kısa sürede Meerkat'i arka sıralara doğru iterken, Facebook da
2000'li yıllarda doğanlar telefon görüşmesi yapmayı "sıkıcı bir eylem" şeklinde tanımlasa da, popüler mesajlaşma uygulaması WhatsApp'ın kullanıcıları bu fikre katılmıyor gibi gözüküyor. Şirketten yapılan açıklamaya göre, platform üzerinden her gün 100
Facebook, canlı video platformunun genişlemesini ve gelişmesini sürdürmek için hazırladığı büyük planları uygulamaya devam ediyor. Şirket, bu hedef doğrultusunda sahibi olduğu yüz değiştirme uygulaması MSQRD'den de yardım almaya hazırlanıyor. Önümüzdeki
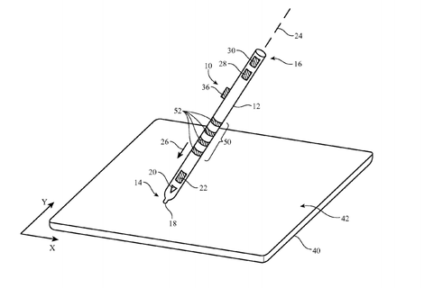
Apple tarafından ABD Patent ve Marka Ofisi'ne sunulan iki patent başvurusu, şirketin gelecek nesil iPhone ve iPad modellerinde kullanıcılarına neler sunabileceği konusunda ipucu veriyor. Bu patentlerden ilkinde üzerinde çoklu dokunma
Google'ın çatı şirketi Alphabet'in sahibi olduğu Boston Dynamics, ilginç robotlar yapmaya devam ediyor. Alphabet tarafından satılması gündemde olan şirket, BigDog ve diğer etkileyici makinelerinin yanına bir yenisini daha ekledi ve
Instagram video keşif özelliklerini geliştirecek bir yeniliğe imza atmaya hazırlanıyor. "Keşfet" bölümünü güncelleyecek olan fotoğraf ve video paylaşım servisi, kullanıcılarına ilgilenebilecekleri video koleksiyonları önerecek. Bu koleksiyonlarda birbirinden alakasız videolar bulunmayacak.
BlackBerry, BBM video görüşme özelliğinin küresel dağıtımını sonunda tamamladı. Söz konusu özellik, ilk olarak geçtiğimiz nisan ayında ABD ve Kanada'daki kullanıcılara sunulmuştu. Haziran ayının başı itibarıyla Latin Amerika'da aktif hâle
Lenovo bilgisayar üreticisi olarak ün yapsa da, son yıllarda akıllı telefon ve tablet pazarında da adından fazlasıyla söz ettiriyor. Şirket, Motorola'nın mobil birimini de satın alarak bu konudaki ciddiyetini somut
Apple'ın yeni iOS 10 yazılımı, MIT Technology Review tarafından işletim sisteminin merkezindeki çekirdeğin şifrelenmemiş olduğuna dair haberin yayınlanması nedeniyle çıkışından kısa bir süre sonra yeniden manşetlere oturmuştu. Bu durum, Apple
Alman internet sitesi Macerkopf, bir süredir en yeni WhatsApp beta sürümü üzerinde incelemeler yapıyor. Söz konusu sürüm, popüler mesajlaşma servisinin yakında kullanıcılara sunabileceği bazı özelliklerin de ipucunu veriyor. Bu özellikler
Xiaomi henüz insanları taşıyabilen bir elektrikli bisiklet geliştirebilmiş değil. Ancak bu durum, şirketin ulaşım araçlarına ilgisi olmadığı anlamına gelmiyor. Katlanabilir bir elektrikli bisiklet hazırlayan Çinli üretici, fiyat etiketine 2 bin
Opera, kullananlara dizüstü bilgisayarlarının pil ömrünü kayda değer oranda artırmayı vadeden pil koruma modunu internet tarayıcısına kısa süre önce eklemişti. Şirket, böylelikle dizüstü bilgisayar kullanıcılarının bir numaralı tarayıcı tercihi haline
Facebook kullanıcıları, bir paylaşıma dair düşüncelerini paylaşıma reaksiyon bırakarak gösterebiliyor. Bu reaksiyonlar artık sanal gerçeklik platformunda da kullanılabiliyor. Samsung Gear VR sanal gerçeklik başlığıyla Facebook 360 üzerinden video izleyenler, videolara
Fotoğrafçılar veya diğer türlerde içeriklerin üretimiyle uğraşanlar yanlarında fiziksel bir yedekleme aracı taşımayı sıklıkla tercih ederler. Western Digital onlar için yeni bir sabit disk sürücüsü sunarak hareket hâlindeyken depolanan içerikleri
microSD kartların gerekli olup olmadığına dair tartışmalar, bazı üreticiler için halen devam ediyor. Ancak Apple'ın 16 GB dahili depolama alanında ısrarcı olması, bazı iPhone kullanıcıları için ekstra depolama alanını zorunluluk
EN ÇOK OKUNANLAR
Teknoblog Bülten
Teknoloji gündemini Teknoblog'un bültenleriyle takip edin.
İNCELEMELER
Teknoblog Podcast
Haftanın teknoloji gündeminden haberdar ol. Her cuma yeni bölüm.
































































