 Apple’ın patent başvurusunu yaptığı klavye konsepti için geleceğin Apple tabletinde bulunacak ya da bulunmayacak şeklinde bir tahmin yapacak kadar ileri gidecek değiliz. Ancak görünüşe göre Cupertino böyle bir konsept üzerinde çalışıyorsa, demek ki bu klavyenin kullanılacağı bir cihazın çalışmaları da yapılıyor diyebiliriz. Yoksa, kullanmayacakları bir konsept için neden patent başvurusu yapsınlar ki?
Apple’ın patent başvurusunu yaptığı klavye konsepti için geleceğin Apple tabletinde bulunacak ya da bulunmayacak şeklinde bir tahmin yapacak kadar ileri gidecek değiliz. Ancak görünüşe göre Cupertino böyle bir konsept üzerinde çalışıyorsa, demek ki bu klavyenin kullanılacağı bir cihazın çalışmaları da yapılıyor diyebiliriz. Yoksa, kullanmayacakları bir konsept için neden patent başvurusu yapsınlar ki?
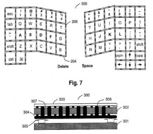
Apple Insider sitesinin bildirdiğine göre patenti alınmak istenen klavye çoklu dokunma desteğine sahip ve dokunmaya duyarlı bir klavye. Üzerindeki dinamik yüzey yazı yazan kişinin parmaklarının yüzey üzerinde nerede olduğunu takip ediyor. Eklemli çerçeve yapısı vuruşların şiddetini düzenleyerek fiziksel tuşsuz bir klavyede bile sanki tuş varmış gibi yazı yazma hissini doğuruyor, işleri kolaylaştırıyor. Bu tarz bir klavyeye alışmak biraz zaman alabilir, ancak bir kere alışıldığında hareket halindeyken bile sabit bir yüzey üzerinde yazı yazmaktan daha kolay şekilde yazı yazmak mümkün hâle gelir. Ayrıntıları ilgili bağlantıda bulabilirsiniz.
İlgili – Apple Insider







