Büyük şirketler tarafından yapılan patent başvuruları, bu şirketlerin popüler ürünleri için değerlendirdikleri farklı fikirleri öğrenmeyi sağlıyor. AppleInsider sitesi tarafından ortaya çıkarılan yeni bir patent, Apple‘ın akıllı saati Apple Watch için gündeme aldığı dikkat çekici bir özelliği gösteriyor.
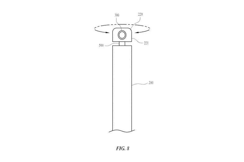
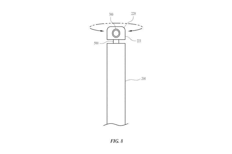
Söz konusu patent dosyası, Apple Watch’un kayışına bir kamera yerleştirilmesi fikrinin değerlendirildiğini ortaya koyuyor. Patent dosyasındaki tasarıma göre, esnek kayışın ucuna optik bir sensör yerleştiriliyor. Bu sensörü bükerek veya çevirerek, bileği oynatmadan fotoğraf çekmenin mümkün olacağı belirtiliyor.
Örneğin, kayış yukarıya doğru çekildiğinde kullanıcıların önündeki görüntünün fotoğrafı çekiliyor. Kayış arkaya doğru katlandığında ise özçekim gerçekleştirilebiliyor. Patent dosyasındaki çizimlerden birinde kameranın kayışın her iki tarafında da fotoğraf çekebilmesi için nasıl döneceği gösteriliyor.
Patent dosyasında kayışa “farklı yönlere bakan” iki kameranın yerleştirilmesi konusunda da referanslar bulunuyor. Fotoğrafların kayış üzerinde kıstırma hareketi yaparak veya sesli komutlarla çekilebileceği belirtiliyor. Kameranın kullanılmadığı zamanlarda ise kayışın içine sıkıştırılabileceği görülüyor.
Giyilebilir ürünlere kamera yerleştirmek zorlu bir iş. Nubia Alpha gibi bu zorlu işin başarıldığı çeşitli ürünler mevcut olsa da, kameranın konumu nedeniyle kullanışlı fotoğraflar çekmek zorlaşıyor. Apple’ın kamerayı kayışa yerleştirme fikri, bu zorluğu kısmen de olsa gevşetebilme potansiyeli taşıyor. Ancak kayış kamerasının başka problemleri de beraberinde getirme ihtimalini de unutmamak gerekiyor.
Apple’ın Apple Watch kayışına kamera yerleştirebileceğine dair dedikodular daha önce de gündeme gelmişti. Bu patentin daha önce gündeme gelen dedikodularla bağlantılı olması da ihtimaller arasında yer alıyor. Ancak patentin ortaya çıkması, tasarımın kısa süre içinde kullanıma açılacağı anlamına gelmiyor. Apple’ın söz konusu patent için başvuruyu 2016’nın eylül ayında yaptığı görülüyor. Apple Watch Series 2 de aynı ay içinde tanıtılmıştı. O günden bu yana Apple Watch’a iki nesil daha eklense de, patentteki tasarımın kullanımı söz konusu olmamıştı. Gelecekte bu durumun değişmesi muhtemel olsa da, kısa vadede fazla heyecanlanmamakta fayda olduğu söylenebilir.












