Apple geleceğin suya dayanıklı cihazlarına öncülük edebilecek bir teknolojinin patentini almak için başvuru yaptı. Her ne kadar şirket bu başvurunun dokümanlarını Haziran 2014’te hazırlamış olsa da, varlığı hafta içinde ortaya çıktı.
Hazırlanan patent başvuru dokümanı kendiliğinden iyileşebilir elastomer malzeme veya lastiği temel alıyor. Bu malzeme korunan cihazın içindeki hassas bileşenleri korumak amacıyla şekil kaybedip yeniden kazanabiliyor.
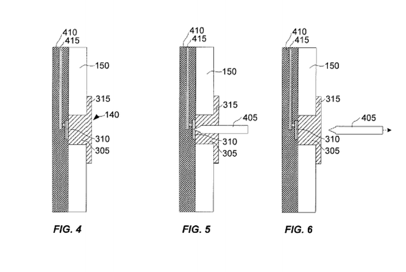
Patente göre, kulaklık veya güç gibi girişlerin üzerinde yer alan lastik mühür bir priz içeri sokulduğunda açılıyor. Priz yerinden çıkarıldığında bu kapak eski hâlini alıyor ve cihazın açıklığını korumaya devam ediyor.
Elastomerin farklı çeşitleri toz, kırıntı, su, gaz ve bunun gibi cihazlara zararı dokunabilecek çevresel materyallere karşı koruma sağlayabiliyor. Bu demek oluyor ki, kullanıcılar yakın gelecekte bir toz fırtınasının tam ortasındayken bile iPhone’larına hiçbir zarar gelmeksizin selfie fotoğraf çekebilecekler.
Diğer şirketler cihazlarında çoktan suya dayanıklı portlar kullanıyor. Örneğin Sony Xperia Z5 veya Samsung Galaxy S6 Active gibi telefonlarda suya dayanıklı kulaklık ve güç portları bulunuyor ve bunlar özel kapaklarla örtülmüyor.
Apple’ın patent başvurusu kullanıcıların çok yakında kesinlikle suya dayanıklı bir iPhone veya iPad ile karşılaşacağı anlamına gelmiyor. Buna rağmen Apple’ın elinde suya dayanıklı lojik devresiyle ilgili bir patent de bulunuyor. Bu patente göre süngerimsi siyah malzeme devre biriminin etrafını sararak onu koruyor. Hem iPhone 6s hem de iPhone 6s Plus’ın bu tarz lojik devrelerle üretildiği söyleniyor. Yine de, bu telefonlar tamamen suya dayanıklı olarak nitelendirilmiyor. Ancak daha önceki iPhone’lara göre suya karşı daha dirençli oldukları bir gerçek.









