Yakında çıkacak daha üst sınıf iPhone'da fiziksel ana ekran tuşunun bulunmayacağı konusunda artık hemen herkes hemfikir. Bu durumda Apple'ın Siri'yi cihaz üstünde gerçek bir düğmeyle etkinleştirmeyi sağlayacak yeni bir yol
Apple'ın üst düzey yönetimini gösteren web sayfası, şirkette yapılan küçük ama dikkate değer bir sorumluluk değişimini gözler önüne seriyor. Apple'ın dijital asistanı Siri daha önce şirketin internet yazılımı ve servislerden
Apple'ın dijital asistanı Siri'nin konuşma şekli, kullanıma sunulduğu 2011'den bu yana ciddi ölçüde değişti. Dijital asistanın sesindeki robotik tını giderek azalsa da, bu değişim hâlâ sürüyor. Siri iOS 11 ile
Apple'ın geçen hafta yurt dışında yayınladığı, Siri ve "The Rock" olarak tanınan aktör Dwayne Johnson'ın birlikte oynadığı reklam filmi "The Rock x Siri: Güne Hükmet" şimdi Türkçe olarak ülkemizde yayınlandı.
https://www.youtube.com/watch?v=ufBLI6bB9sg Apple'ın 2011'de piyasaya sürdüğü iPhone 4s ile kullanıma sunulan Siri, şirketin en bilinen servisleri arasında yer alıyor. Kullanım alanı giderek genişleyen ve yetenekleri de gelişen dijital asistan, şirketin pazarlama
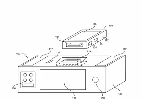
Apple düzenli olarak yeni teknolojiler geliştirip bunların patentini alıyor. Ancak şirketin ABD Patent ve Ticari Marka Ofisi tarafından onaylanan son patenti, dikkat çekici bir fikrini ortaya koyuyor. Apple Siri ve
Yine bir bayram geldi çattı. Çocukluğumuzda büyüklerimizden sıklıkla duyduğumuz "Nerede o eski bayramlar?" sözünü, doğrusunu söylemek gerekirse ben de son zamanlarda sıklıkla eder oldum. Aslına bakarsanız, her yaştaki bayramın ayrı
Apple WWDC 2017'de beklendiği gibi iOS 11'in resmi duyurusunu gerçekleştirdi. Milyonlarca iPhone ve iPad'de çalışan mobil işletim sisteminin gelecek nesil büyük sürümü işletim sistemini güçlendiren temel teknolojileri iyileştirirken çeşitli yeni
Apple'ın dijital asistanı Siri de yeni işletim sistemi iOS 11 ile birlikte önemli bir değişimden geçecek. Siri iOS 11 ile birlikte kavuşacağı yeni sesi ile daha doğal konuşmaya başlayacak. Görselleşen
Apple'ın Siri tabanlı bir akıllı hoparlör üzerinde çalıştığına, hatta hoparlörün üretimine başladığına dair dedikodular uzun süredir etrafta dolaşıyordu. Bu dedikodular sonunda resmiyet kazandı. Apple HomePod, WWDC 2017'nin açılış etkinliğinde gözler









