Samsung, Nexus S ve Galaxy Nexus’ta kullandığı kavisli camlarla diğer akıllı telefonların arasından sıyırılıp bu cihazları farklı bir yerde konumlamayı başarmıştı. Ancak, şirketin bu kavisli cam konseptinin tapusunu almadığı da diğer şirketlerin de konsepte ilgisinin ortaya çıkmasıyla net bir biçimde ortaya çıktı.

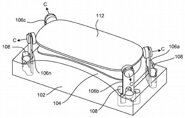
Kavisli cam konusunda çalışmalar yapan şirketlerden birisi de Apple. Şirket, bu doğrultuda son olarak ince camı zararlı olabilecek kimyasal maddeleri kullanmadan kavisli ya da bükülmüş hale getirebilecek bir teknolojinin patentini aldı. Camın şekil alma sürecinde kullanılacak hizalama araçları sayesinde camı herhangi bir müdahalede bulunmadan bükmek mümkün hale gelecek. Böylelikle daha yüksek kaliteli görüntü iletimini sağlayan kavisli yüzeyleri elde etmek de mümkün olacak. Apple’ın bu patenti alması yakın gelecekte kavisli bir iPhone’un ortaya çıkacağı anlamına gelmiyor. Zira, Apple’ın bu teknolojiyi uygulamak için fareden televizyona kadar uzanan geniş bir seçenek listesi mevcut.
İlgili >> ABD Marka ve Patent Ofisi








