Son Videolar
Tümünü İzle →
Samsung'un yeni amiral gemisi Galaxy S8 ile ilgili dedikodular uzun süredir etrafta dolaşıyor. Akıllı telefonun olası çıkış tarihine dair iddialar ise son zamanlarda biraz daha dikkat çekiyor. Bu iddialara bir
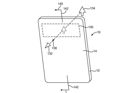
Apple'ın bir süredir dedikoduları yapılan çerçevesiz iPhone'u, deliklerle dolu bir OLED ekranla gerçeğe dönüşebilir. Apple Insider sitesinin dikkat çektiği ve onaylanan bir patent, esnek bir yüzey üzerine yerleştirilmiş ve aralarına
HTC Desire 650 kasım ayının sonlarında tanıtılmış ve aralık ayında da şirketin ana vatanı Tayvan'da satışa sunulmuştu. Akıllı telefon önümüzdeki ay itibarıyla Avrupa'da ve başka bölgelerde de satışa sunulacak. Cihazın
HTC'nin yeni akıllı telefonunun çıkışı çok yaklaştı. Buna bağlı olarak gelen sızıntılar da artıyor. Android Police sitesi, Ocean Blue kod adıyla anılan cihaza ait birtakım fotoğraflar yayınladı. Fotoğraflarda ortası alüminyum
LG'nin görünüşte bağımsız olan ekran üretim iştiraki LG Display, 5.7 inç LCD ekranın duyurusunu gerçekleştirdi. Bu ekran 18:9 gibi sıra dışı bir görüntü oranına ve QHD+ çözünürlüğe sahip. Şirketin söylediğine
2015'in en dikkat çekici akıllı saatlerinden birisini de Vector üretmişti. Eski Citizen çalışanları tarafından kurulan Romanya merkezli şirketin akıllı saati, çeşitli özelliklerle ilgi uyandırmayı başarmıştı. Vector 30 günlük pil ömrü,
Apple artırılmış gerçeklik konseptine olan ilgisini saklamıyor. Teknoloji dünyasının tanınmış isimlerinden Robert Scoble tarafından ortaya atılan bir iddia, bu ilginin yakın zamanda somut bir ürüne dönüşebileceğini gösteriyor. Apple'ın Carl Zeiss ile
Sürücüsüz otomobil testlerinde aracın içinde genellikle verileri inceleyen bir ya da iki mühendisten ve acil durumda kontrolü ele alan sürücülerden başka kimse bulunmuyor. Eğer "sıradan" insanlar testlere katılıyorsa genellikle arka
Apple ABD topraklarında üretim planları çerçevesinde yeni bir adım daha atıyor. Business Insider'da yer alan habere göre, şirket ülkede yeni bilgisayarlar üretecek. Ancak bu bilgisayarlar satışa sunulmayacak. Cupertino merkezli şirket,
Akıllı telefon pazarı için en önemli etkinliklerden biri olan Mobil Dünya Kongresi,(MWC) yıllardır olduğu gibi bu yıl da Barselona'da gerçekleştirilecek. Geçtiğimiz hafta gerçekleşen CES 2017'de akıllı telefon ve tablet duyuruları
Otomotiv sektörünün pek çok önemli oyuncusu, 2021 itibarıyla çeşitli elektrikli otomobil modellerini yollara çıkarmayı amaçlıyor. Batarya teknolojisinde yaşanacak değişimler de bu otomobillerin sunacağı özellikler ve menzilleri açısından önem taşıyor. Ancak
Nokia yapay zeka asistanı geliştirme eğilimine kayıtsız kalamayan şirketler arasına katılmış gibi görünüyor. Finli şirket, "Viki" adının ticari hakları için başvuruda bulundu. Viki'nin Nokia'nın web ve akıllı telefonlarda kullanıcılara yazılı
Google Tango adını taşıyan artırılmış gerçeklik platformu için farklı ve ilgi çekici yeni kullanım alanları bulma yolculuğunu sürdürüyor. Şirket, dünyanın dört bir yanındaki müzelere artırılmış gerçeklikten faydalanarak ziyaretçilere eserler hakkında
Samsung'un Bixby isimli yeni dijital asistanının Galaxy S8 ile birlikte görücüye çıkması bekleniyor. Geçtiğimiz yılın sonlarında dijital asistanın yerel uygulamalarla derin bir entegrasyon içinde olacağına dair haberler gündeme gelmişti. Bu
Apple'ın dünyanın OLED panel tedariğinin önemli bir kısmına göz diktiğine dair haberler uzun zamandır etrafta dolaşıyor. Son haberlere göre, Sharp iPhone için olması beklenen talebi karşılamak için yeni bir üretim
EN ÇOK OKUNANLAR
Teknoblog Bülten
Teknoloji gündemini Teknoblog'un bültenleriyle takip edin.
İNCELEMELER
Teknoblog Podcast
Haftanın teknoloji gündeminden haberdar ol. Her cuma yeni bölüm.

































































