Essential ekranda çentik kavramını hayatımıza sokan ilk şirket olmuştu. Belki bu şirket Essential Phone’un kenarlara kadar yayılan ekranında kamera için bir çentik eklemeseydi, bugün gördüğümüz birçok telefonun ekranında çentik bölümü göremeyebilirdik. Aslında Essential’ın aklında, geçen hafta Mobil Dünya Kongresi’nde Vivo’nun gösterdiği tarzda, bastırılarak açılan bir selfie kamerası da varmış.
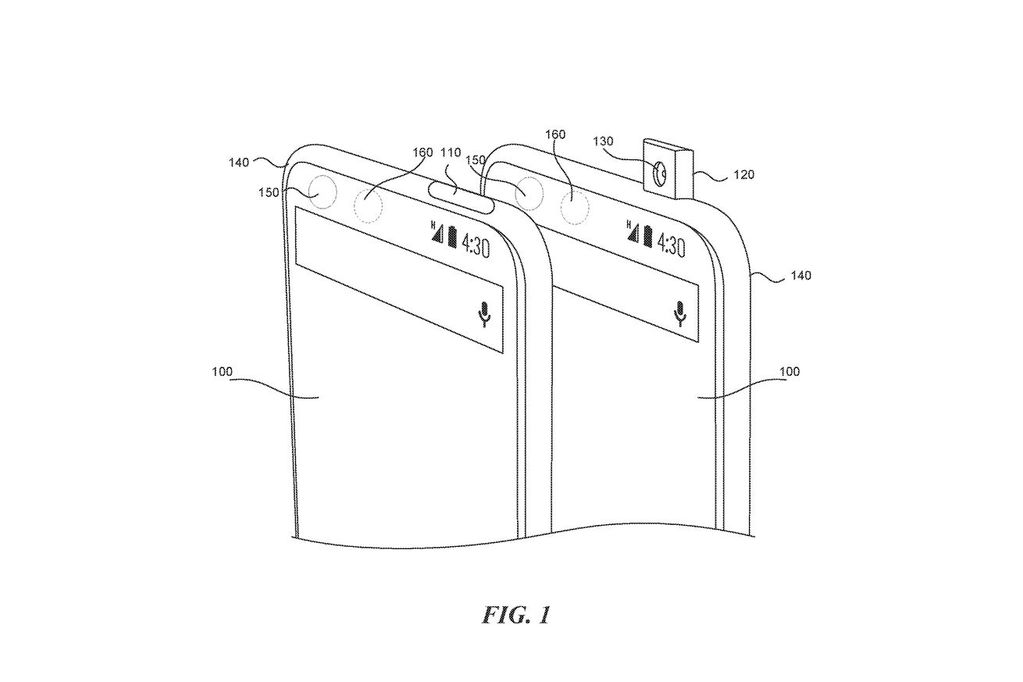
Essential CEO’su Andy Rubin, birkaç gün önce Vivo Apex konseptiyle ilgili bir tweet’e cevap verdi. Rubin, benzer bir açılır kamera için Essential’ın sahibi olduğu patenti işaret etti. Bu patent yıllar önce alınmış.
Şirket çentik yerine mekanik, açılabilir bir kamerayı tercih etmeyi düşünmüş. Tabii ki, yazının başında Essential’ın bu seçimi yapması hâlinde çentikli ekranlar dünyasını göremeyeceğimizi söylüyoruz, ancak Apple, muhtemelen çentik ekleme konusunda Essential’dan çok etkilenmemiştir.
Andy Rubin’in açılır kamera düşüncesi bir noktaya kadar mantıklı görünüyor. Ancak bu tarz kamera mekanizmalarının çok çabuk bozulma ihtimali var ki, bu durum da Essential için bir kabusa dönüşebilirdi. Çentikte ise en azından ekran yapısına alışma ve bir süre sonra çentiğin kapladığı alanı önemsememe durumu söz konusu. Geçen hafta MWC 2018’de gördüğümüz kadarıyla da, Essential Phone, kameranın oluşturduğu çentik ile gayet iyi biçimde anlaşıyor.
[irp posts=”168606″ name=”Essential Phone Ön İnceleme ? Video”]








