Apple’ın her sene yaptığı sayısız patent başvurularına alışığız. Bu patent başvurularının içinden ilginç yenilikler çıkıyor. “Acaba Apple bunları gerçek bir ürüne dönüştürür mü?” diye düşünmekten kendimizi alamıyoruz.
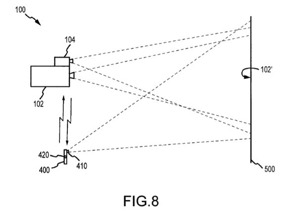
“Projektör sistem ve yöntemleri” başlığıyla yapılan bu patent başvurusu dizüstü bilgisayar ya da cep telefonu gibi cihazların projektörle uzaktan etkileşim kurmasını tanımlıyor. Hatta cep telefonuna entegre edilecek bir piko projektörden bile söz ediliyor. Bunu yapmak için malum cihaza projektörden veri almayı sağlayacak bir çeşit sensör eklenmesi gerekiyor, hatta uzaktaki cihazdan projektörün kalibrasyonunun yapılmasına bile izin veriliyor. Patent başvurusunun ilerleyen sayfalarında bu sistemin birden fazla istemciye nasıl kucak açacağı anlatılıyor, örneğin birden fazla kullanıcı tek bir sunuma farklı görüntülerle nasıl katılacak? Görünüşe göre Apple’ın tasarladığı projeksiyon sistemi istemcilerin birbirleri arasında ses alıp göndermesine izin veriyor. Gelecekte bir gün, piko projektörlü iPhone’unuzu sensör yerleştirilmiş MacBook’unuzdan kontrol etmeniz mümkün olabilir mi? Büyük bir ihtimalle hayır, ancak bu patent başvurusu yeni kapıların açılmasına neden olabilir, bu konuda ümidimizi her zaman koruyoruz.
İlgili – Patently Apple






