Apple’ın şarj kabloları dayanıklılık konusunda çeşitli kullanıcılardan eleştiriler alıyor. Genellikle bir veya iki yıl sonra yıpranır ve hatta cihazınızı hiç şarj etmeyecek noktaya kadar bozulabilir. Ancak görünüşe göre Apple, kablolarını daha dayanıklı hale getirmek için bazı fikirler üzerinde çalışıyor. “Değişken Sertlikli Kablo” başlıklı patent başvurusundan bunu anlıyoruz.
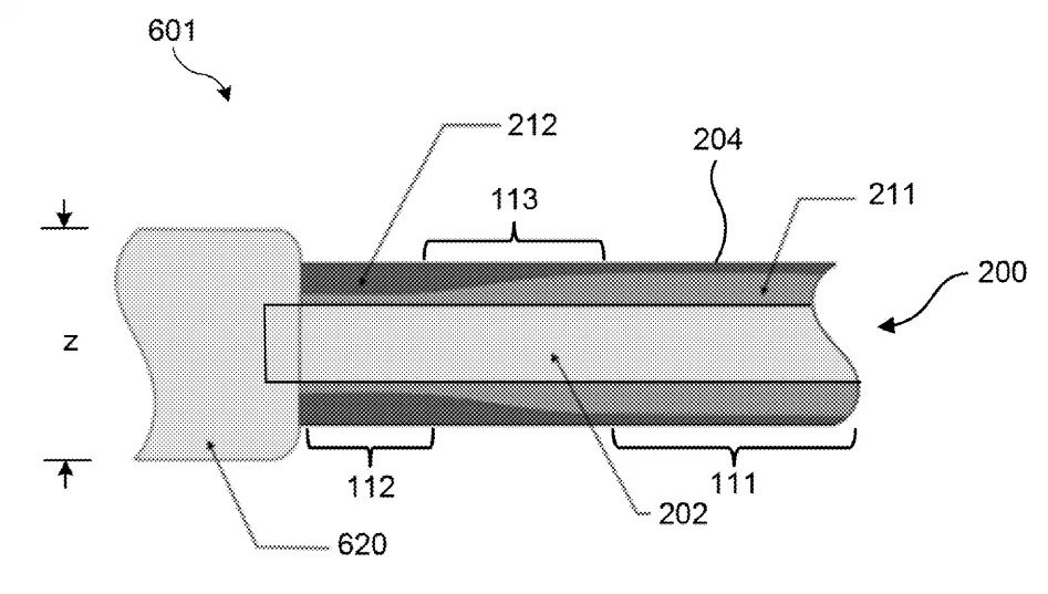
İlk olarak AppleInsider dikkat çekilen patent, kolayca yıpranmayacak bir kablo için bazı farklı fikirleri detaylandırıyor. Yöntemler, kabloyu muntazam kalınlıkta tutarken, kablonun farklı kısımlarına değişen seviyelerde sertlik veriliyor. Böylelikle Apple’ın mevcut kablolarında bulunan ve “gerilim altıcı kulp” olarak adlandırdığı bir parça da kaldırılıyor
Gerilim azaltıcı kulp, kablonun bükülmeler nedeniyle kırılmasını önlemeye yardım ediyor. Genel olarak kablolar, bunları takmak için uçların yakınında keskin bir şekilde büküldüğünden kulp yardımcı oluyor. Apple’ın bu patentte ortaya koyduğu fikirler, tüm bir kablonun esnekliğini ve sertliğini değiştiriyor. Bu, düzenli olarak nerede bükerseniz bükün, teorik olarak yıpranmaya karşı daha iyi koruma sağlıyor, üstelik tümü kalınlığı artırmadan bunu yapıyor. Böylelikle artık gerilme önleyici kulplara da gerek kalmıyor.

Bu, şu an için sadece bir patent başvurusu ve Apple’ın bu tasarımı gelecekteki kablolarda kullanacağına dair hiçbir garanti bulunmuyor. Ancak Apple’ın bu patent başvurusunu yapmış olması, kablo dayanıklılığı konusunu da dikkate aldığının iyi bir işaretidir. Umarız ilerleyen zamanlarda buna yönelik bazı iyileştirmeler görürüz.
[irp]
Teknoblog, teknoloji gündemini farklı platformlarda düzenli biçimde paylaşıyor. WhatsApp kanalında öne çıkan haberleri anlık olarak aktarıyor, Google Haberler üzerinden güncel içerikleri sunuyor, Instagram ve X hesaplarında dikkat çeken başlıkları özetliyor, YouTube kanalında ise ürün incelemeleri ve detaylı anlatımlarla içeriği tamamlıyor.








