
Airbus, geçtiğimiz ay yeni ve oldukça ilginç bir uçağın patentini sessizce aldı. “Hipersonik ve ultra hızlı” şeklinde tanımlanan jet, ses hızının yaklaşık 4.5 katı bir sürate ulaşabiliyor. Söz konusu sürat sayesinde halihazırda yaklaşık 11 saat 35 dakika süren Paris-San Francisco uçuşunun 3 saatte tamamlanabileceği belirtiliyor.
Söz konusu patentin varlığını farkeden PatentYogi rumuzlu YouTube kullanıcısı, Airbus’ın patentini diğer iki süpersonik uçak Concorde ve Tupolev Tu-144 ile karşılaştırdı. Airbus’ın tasarımının performans anlamında ciddi iyileştirmeleri beraberinde getirebileceği belirtilirken, patente göre uçak ses duvarının gürültüsünü de önemli ölçüde aşağıya çekecek. Mevcut tasarıma göre, Airbus’ın yeni uçağı 20 yolcu taşıyabilecek gibi gözüküyor.
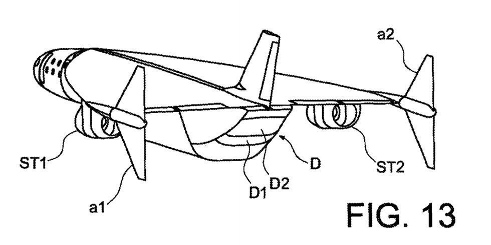
Patent dosyasına bakıldığında yeni Airbus jetinin birkaç yakıt sistemiyle birlikte çalışabileceği görülüyor. İlk olarak turbo jetler ve roket motoru uçağı havada “neredeyse dikey” bir pozisyona taşıyacak. Uçak istikametine yönelmeden önceyse kanattaki motorlar devreye girecek ve en yüksek hıza erişim sağlanacak.
Ancak büyük şirketlere ait diğer patentlerle ilgili senaryonun Airbus’ın yeni uçak patentinde de geçerli olabileceğini ve söz konusu uçağın asla üretime geçmeyebileceğini unutmamak gerekiyor. Üretim gerçekleşse bile bunun uzun vadede olması fazlasıyla muhtemel gözüküyor.
Teknoblog, teknoloji gündemini farklı platformlarda düzenli biçimde paylaşıyor. WhatsApp kanalında öne çıkan haberleri anlık olarak aktarıyor, Google Haberler üzerinden güncel içerikleri sunuyor, Instagram ve X hesaplarında dikkat çeken başlıkları özetliyor, YouTube kanalında ise ürün incelemeleri ve detaylı anlatımlarla içeriği tamamlıyor.


