Ortaya yeni çıkan iki patent dosyası, Microsoft’un giyilebilir ürün pazarına dair hedeflerinden vazgeçmediğinin işaretini veriyor. Microsoft giyilebilir ürün kategorisindeki şansını daha önce Band ve Band 2 ile denemiş, ancak aradığını bulamamıştı. Bilekliklerin neredeyse düzenli olarak bilekten çıkması ve pillerinin yetersiz olması, kullanıcı şikayetleri arasında başı çekmişti. Ancak yazılımının kullanışlılığı ve barındırdığı sensör sayısının çokluğu, Microsoft Band’in beğenilen yönlerinden olmuştu.
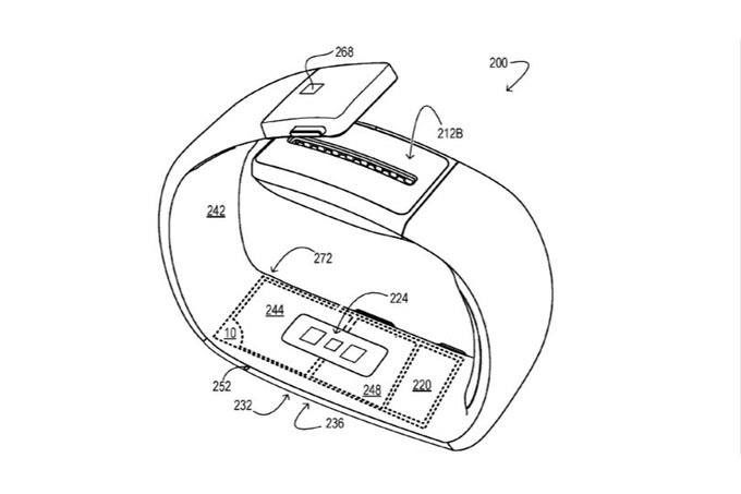
Microsoft’un yeni patentlerinden ilki doğrudan deriyle temas eden sensörlü bir metal halkayı işaret ediyor. Böylelikle elektrik iletkenliği yardımıyla stres seviyelerinin ölçülebilmesi öngörülüyor. Söz konusu halkanın kullanıcının derisiyle sürekli olarak temas etmesi planlanıyor. Sürekli ölçüm için de halkaya iki sensör yerleştirilebileceği belirtiliyor. Microsoft’un daha önce Band’de de benzer teknolojileri sunması, şirketin mevcut teknolojilerini güncellediğini gösteriyor.
İkinci patent ise diğer şirketlerin de üzerinde çalıştığı bir teknolojiyi işaret ediyor. Kan basıncını ölçmek amacıyla geliştirilen teknoloji, bunun için sensörlerin yanı sıra yapay zekâdan da yararlanıyor. Kan basıncı ölçümü yapabilmek, giyilebilir ürün pazarında ayakta kalmayı hedefleyen şirketler açısından önem taşıyor.
Microsoft giyilebilir ürün pazarındaki hedeflerinden vazgeçmemiş gibi görünse de, bu konuda kesin ifadeler kullanmak pek kolay değil. Şirketlerin patentlerini aldıkları teknolojileri her zaman kullanmadığı biliniyor. Microsoft’un tercihini son kullanıcılara yönelik giyilebilir ürünler yerine sağlık sektöründe değerlendirebileceği belirtiliyor.








