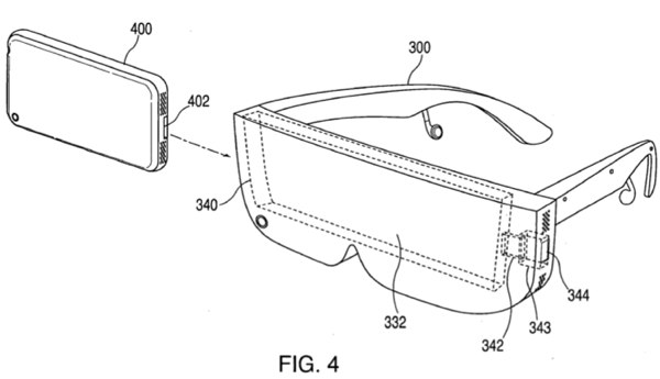
1 Nisan geçeli çok oldu, ancak karşımızda şaka gibi bir patent başvurusu duruyor. Gözlük gibi yüzünüze oturan bir iPhone doku nasıl olurdu, bunu hiç düşündünüz mü?
“Ekranlı taşınabilir elektronik cihazlar için başa monteli görüntü aparatı” gibi bir başlık taşıyan bu patent başvurusunda söz konusu cihaz stereo ekran ve cep telefonunun kamerası için özel bir kamera veya pencere içeriyor. Bu arada patent başvurusunda mikrofon, hoparlör, batarya ve başın hareketlerini algılayacak bir ivmeölçere de yer verilmiş. Bu tarz bir cihaz “arttırılmış gerçeklik” uygulamalarında oldukça yararlı olurdu. Bakalım söz konusu patent başvurusu gerçek bir cihaza dönüşmeyi başarabilecek mi?
İlgili – Free Patents Online
En İyi iPhone Kılıfları
Teknoblog'un satış ortaklıkları vardır. Bunlar, editoryal içeriği etkilemez, ancak Teknoblog, satış ortaklığı bağlantıları üzerinden satın alınan ürünler için komisyon kazanabilir.







