
Elektronik ürünlere yönelik şikayet unsurları arasında en popülerlerden birisi de pil ömrü. Dijital kameralar, akıllı telefonlar ve dizüstü bilgisayarların şarjı, kullanıcılarının en hazırlıksız olduğu anda bitebiliyor. Görünen o ki, Apple bu problemi çözmek için çalışmalar yapıyor.
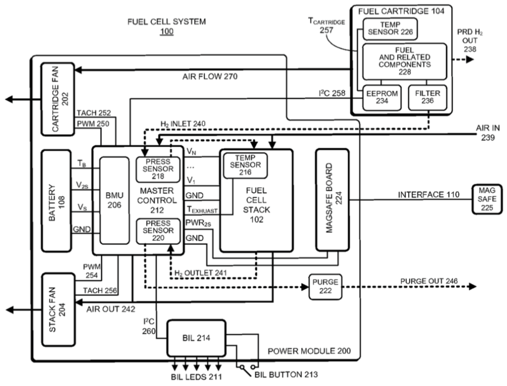
Teknoloji devinin ABD Patent ve Marka Ofisi’ne yaptığı son patent başvurusu, ”Taşınabilir Programlama Cihazları için Yakıt Pili” adını taşıyor. Başvuru dosyasına göre, bu iç güç sistemi sayesinde bir dizüstü bilgisayar, günler veya haftalar boyunca tekrar şarja ihtiyaç duymadan çalışabiliyor.
Apple, patent başvurusunda yakıt pilli güç kaynağının elektronik cihaza fazla ekstra ağırlık yaratmadan eklenmesi için de çözüm önerisi sunuluyor. Yakıt pilleri, daha küçük paketlerde daha fazla enerjiyi barındırabildikleri için geleneksel pillere kıyasla daha etkin bir çözüm olarak değerlendiriliyor.
Elektronik cihazları şarj etmek için farklı ürünler geliştirilse de, bunlardan sadece birkaçı yaygınlık kazanabildi. Elektronik cihazlar için tasarlanan yakıt pilleri genellikle taşınabilir şarj ünitesi formatında olsa da, Apple’ın çözümü yakıt pillerinin doğrudan cihaza entegre edilmesini öngörüyor.
Apple daha önce de bir yakıt pili sistemi için patent başvurusu yapmıştı. 2011’de taşınabilir programlama cihazları için bir şarj sistemi başvurusu gerçekleştiren şirket, geçtiğimiz mart ayında da elektronik cihazlar için harici yakıt pili sistemine yönelik bir başvuru gerçekleştirmişti.







