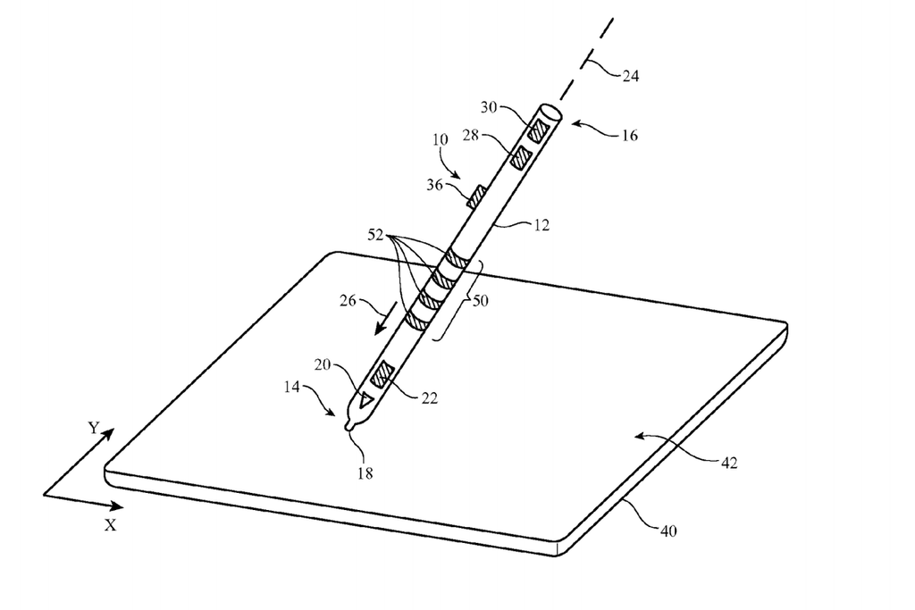
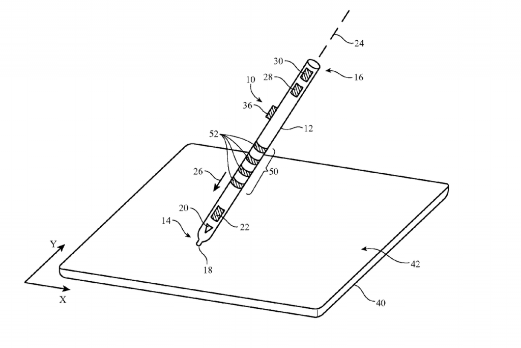
Apple tarafından ABD Patent ve Marka Ofisi’ne sunulan iki patent başvurusu, şirketin gelecek nesil iPhone ve iPad modellerinde kullanıcılarına neler sunabileceği konusunda ipucu veriyor. Bu patentlerden ilkinde üzerinde çoklu dokunma sensörlerine sahip bir kalem görülüyor. Gövde kısmında bulunan sensörlerle parmak hareketlerini algılayabilecek olan kalem, eşlik ettiği cihazın kontrolünde kullanılabilecek.
Söz konusu teknoloji sayesinde kullanıcılar, parmaklarını kalem üzerinde aşağıya doğru sürükleyerek bir dokümanın veya web sayfasının alt kesimlerine inebilecek. Veya kullanıcılar kalemi döndürdüklerinde, ekran üzerinde ilgili bir hareketin gerçekleştiğini görebilecek. Bu teknolojinin yeni nesil Apple Pencil’de kullanılması şaşırtıcı olmayacaktır. Ancak, tüm patent başvuruları gibi, bu başvurunun da somut bir tüketici ürününe dönüşmeme ihtimali bulunuyor.
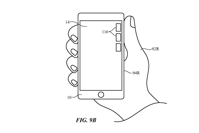
Apple el algılama teknolojisi için de patent başvurusunda bulundu
Apple el algılama teknolojisi için de patent başvurusunda bulundu. Bu teknoloji sayesinde kullanıcının cihazı hangi eliyle tuttuğu algılanıyor ve arayüz sol ya da sağ elle kullanım için optimize ediliyor. Apple, cihaz sahiplerinin hangi ellerini kullandıklarını anlayabilmek için yakınlık sensörü, ivmeölçer ve Touch ID gibi sensörlerden faydalanacak.
Bu özellik sayesinde insanların iPhone 6s Plus gibi büyük ekranlı telefonlarda yaşadıkları problemlerin çözülmesi muhtemel gözüküyor. Apple’ın söz konusu teknolojiyi Erişilebilirlik kapsamında iPhone 6s Plus’ın gelecek nesillerdeki versiyonlarına yerleştirebileceği belirtiliyor.








