Dün düzenlediği etkinlikle iPhone 5'i tanıtan Apple aynı zamanda iOS 6'nın da 19 Eylülde yayınlanacağını duyurdu. iOS 6 ile birlikte navigasyon ve Siri uygulamalarında çeşitli yerelleştirme seçenekleri de sunulacak. Böylelikle
Apple iOS 6'nın Golden Master sürümünü yayınladı. Final sürümü 19 Eylülde yayınlanacak olan işletim sisteminin köprüden önce son çıkışı niteliğini taşıyan bu sürüm sayesine yazılımcılar iOS uygulamalarının yeni iPhone 5
Apple ekim ayıyla birlikte iTunes'u tamamen yenilemiş, yepyeni bir iTunes deneyimini kullanıcılarına sunmuş olacak. iOS 6'nın 19 Eylülde yayınlanmasının hemen öncesindeyse iTunes 10.7 yazılım güncellemesini duyurarak bu yeni işletim sistemiyle
Apple iOS 6 beta programını WWDC ile birlikte başlatmıştı. Yaklaşık üç ay süren çalışmaların sonucunda iOS 6'nın son hâli artık netleşti ve gelecek hafta çarşamba günü, yani 19 Eylül tarihinde
Apple.com üzerinde yapılan arama sadece iPhone 5, yeni iPod touch ve iPod nano'ya ait duyuru sayfalarını ortaya çıkarmakla kalmadı, aynı zamanda iTunes yazılımının yeni versiyonunun da işaretini verdi. 11 versiyon
Apple'ın ilk nesil iPhone'dan bu yana video servisleri için YouTube ile çalışıyordu. Apple'ın mobil pazarlarında en büyük rakibi olan Android ile beraber Google'ın çatısı altında bulunan YouTube'un Apple ile olan
Apple'ın yeni iPhone'da mevcut dock konnektöründen daha küçük bir dock konnektörüne geçiş yapacağı bir süredir konuşuluyordu. Dock konnektöründe kullanılacak pin sayısı için 8 ile 19 arasında çeşitli rakamlar telaffuz edilse
Birçok iPhone kullanıcısı cihazın sinyalin ne kadar güçlü olup olmadığına bakmadan kablosuz ağa bağlanmasından rahatsız durumda. Söz konusu durum, kullanıcı Wi-Fi'ı kapalı hale getirene ya da ''kablosuz ağı unut'' komutunu
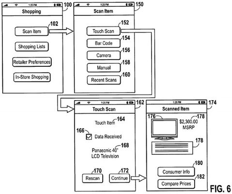
ABD Marka ve Patent Ofisi, Apple'ın NFC destekli alışveriş listeleri için yaptığı patent başvursunu onayladı. Söz konusu patentle sağlanan arayüz ile iPhone kullanıcıları bir UPC kodu girdikten, barkod veya NFC
Apple'ın gelecek nesil iPhone'uyla ilgili birçok şey yazıldı, çizildi. Sonbaharda piyasaya çıkacağı söylenen cihazın parçalarını bile gördük. Ancak 9to5Mac'in ortaya çıkardığı şey şimdiye kadar gördüğümüz en ciddi kanıt sayılabilir. Sitenin









