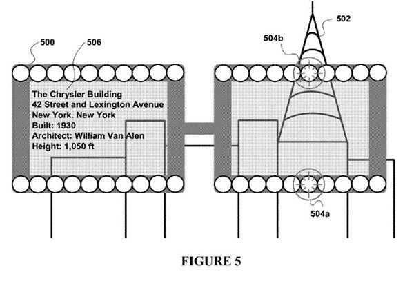
Google’ın ABD Patent ve Ticari Marka Ofisine yaptığı son başvuru artırılmış gerçeklik ile bir çift gözlük çevresinde geliştirilmiş senaryoyu barındırıyor. Patent ile belirlenen duruma göre sistem, bir vizör yardımıyla nereye baktığımızı anlayacak, ek detayları ekleyecek, yeni ilgi alanlaını belirleyecek, görüş açımızda olmayan unsurları bile değerlendirecek. Bunun sonrasında gözlükler çeşitli görsel indikatörler ve işaretler yardımıyla görüş açımızı topladığı ve değerlendirdiği bilgilerle görüşümüzü zenginleştirecek.
Google’ın patent başvurusu sadece bakılanı değil okunulanı da değerlendirme kapasitesine sahip. Cihaz kişinin dijital ekrandan bir şey okuduğunu, hatta görüş alanı dışında bulunan bilgileri de sezecek. Sonrasında okuyuculara ilgi alnlarıyla ilgili yönlendirmelerde bulunacak, bunlar büyük ihtimalle resimler olacak. Patent başvurusunun Google’ın son zamanlarda hakkında konuşmaktan bir hayli zevk aldığı ve hatta kurucusu Sergey Brin’in Cumhurbaşkanı Abdullah Gül’e bizzat denettiği Gözlük Projesiyle ilgili olduğunu düşünmekten kendimizi alamıyoruz.
İlgili – ABD Patent ve Ticari Marka Ofisi
Teknoblog, teknoloji gündemini farklı platformlarda düzenli biçimde paylaşıyor. WhatsApp kanalında öne çıkan haberleri anlık olarak aktarıyor, Google Haberler üzerinden güncel içerikleri sunuyor, Instagram ve X hesaplarında dikkat çeken başlıkları özetliyor, YouTube kanalında ise ürün incelemeleri ve detaylı anlatımlarla içeriği tamamlıyor.







