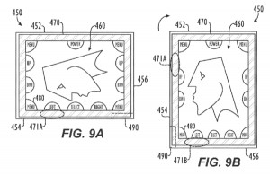
Apple iPad’i çıkardı, ancak dedikodu değirmeninin milleri bir sonraki nesil için dönmeye başladı bile. Apple’ın patentleri ve patent başvuruları dedikodu çıkartmak için en uygun başlangıç noktası. Bu haftanın başında onaylanan bir patent başvurusu dokunmaya duyarlı, akıllı ekran çerçevesiye ilgili, bir sonraki nesil iPad’de yer alması muhtemel.
Sözü edilen çerçeve sayesinde ekran üzerindeki kontrolleri sınırların ötesine taşımak mümkün olabilir. Tabletin alt kısmında dokunmaya duyarlı iPod uygulaması kontrolleri bulunurken, tabletin sağ yanı Safari uygulaması için bir kaydırma çubuğu işlevi görebilir. Palm benzer bir şeyi Pre ve Pixi de denmişti, ekranın altına dokunmaya duyarlı bir alan yerleştirmişti, ancak mantığı Apple’ın patentindekine pek benzemiyordu. Apple bu patenti illâ ki kullanacak diye bir kural yok, ancak bu durum analistlerin konuyla ilgili tahmin yürütmelerine bizim de hakkında yazı yazmamıza engel olamıyor.
İlgili – Patently Apple
Teknoblog, teknoloji gündemini farklı platformlarda düzenli biçimde paylaşıyor. WhatsApp kanalında öne çıkan haberleri anlık olarak aktarıyor, Google Haberler üzerinden güncel içerikleri sunuyor, Instagram ve X hesaplarında dikkat çeken başlıkları özetliyor, YouTube kanalında ise ürün incelemeleri ve detaylı anlatımlarla içeriği tamamlıyor.







