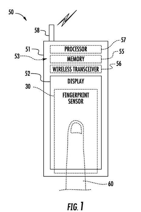
Apple’ın ABD Patent ve Marka Ofisi’ne yaptığı son başvuru iPhone 5S’in öne çıkması beklenen özelliklerinden birini işaret ediyor. iPhone 5S ile ilgili ortaya çıkan pek çok haberde adı geçen parmak izi tarayıcısı şirketin yaptığı başvuruda kendini ilk bahsedilen halinden daha gelişmiş bir şekilde gösteriyor.

Patent başvurusuna göre, sensör cihazın alüminyum kısmı veya Home tuşu yerine ekranın üzerine yerleştiriliyor. Daha önce bu tarz bir uygulama sadece kurumsal ürünlerde yapıldığı için Apple’ın patent başvurusunda bu tarz bir uygulamayı örneklendirmesi ilginç bir yaklaşım olarak değerlendiriliyor. Bir akıllı telefona parmak izi tarayıcısı yerleştirme fikri ilk etapta kulağa garip gelse de, özellikle güvenlik açısından tarayıcının varlığı mantıklı bir seçenek olarak göze çarpıyor. Apple’ın 5S koduyla piyasaya sürülecek yeni iPhone’u cazip hale getirmek için daha hızlı işlemci ve daha iyi kamera dışında bir özellik peşinde olması parmak izi tarayıcısının varlık ihtimalini artırsa da, Apple’ın patentlediği teknolojilerden bazılarını gün yüzüne çıkarmaması haberlere biraz daha ihtiyatlı yaklaşılmasına neden oluyor.
İlgili >> Patently Apple








