Apple’ın Lytro tarzı yeniden odaklamalı kameralara ilgi gösterdiğini 2011 yılında başvurusu yapılan ve dün onaylanan patentten anlıyoruz.
Şirketin tanımlamasını yaptığı kamera iki tür görüntünün yakalanması arasında geçiş yapma yeteneğine sahip. Çekim sonrasında yeniden odaklama yapılabilen düşük çözünürlüklü görüntüler ve herhangi bir değişiklik yapılamayan yüksek çözünürlüklü fotoğraflar aynı anda yakalanabiliyor. Bunun için yeniden odaklanabilir görüntünün yakalanması sırasında kameranın lensi ve sensörü arasında kayma yapacak mikrolens dizisinin ve adaptörün bulunması gerekiyor. Bu yapı normal fotoğrafın çekimi sırasında da uzağa kayacak.
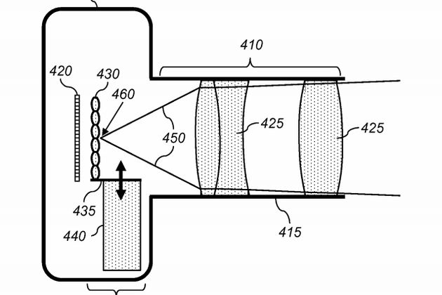
Yukarıdaki görüntü böyle bir kameranın kesitini gösteriyor. Yeniden odaklanabilir fotoğrafın çekilmesi için “430” ile işaretlenmiş mikrolens dizisinin yeniden odaklanabilir fotoğraf çekebilmesi için konumlandırılması gerekiyor.
Çeşitli şirketler Lytro’nun kamerasını sadece yazılım kullanarak taklit etmek için çeşitli girişimlerde bulunmuştu, ancak kimse bu tarz bir donanım modeli geliştirmemişti. Apple Lytro’dan ilham aldığını da saklamıyor, patentinde Lytro’nun kurucusu Ren Ng’den de bahsediyor, bununla birlikte mükemmel çözümü sunmadığını da belirtmekten geri kalmıyor.
Patentte, düşük çözünürlüklü yeniden odaklanabilir mod ile yüksek çözünürlüklü odaklamasız mod arasında geçiş veya değişikliği mümkün kılacak bir kamera sistemini mümkün kılacak yönteme ihtiyaç duyulduğu belirtiliyor. Ayrıca bu tarz bir kameranın bir mobil cihazda yer alabileceğine de işaret ediliyor. Ne var ki, sadece buna dayanarak gelecekte Apple’ın iPhone’a bu tarz bir özellik ekleyeceği tahmininde bulunmak zor.
İlgili >> Apple Insider, USPTO
Teknoloji dünyasının gündemini Teknoblog'un bültenleriyle takip edin.









