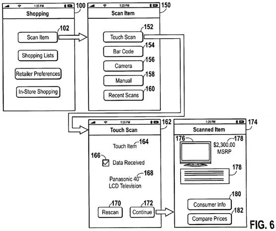
ABD Marka ve Patent Ofisi, Apple’ın NFC destekli alışveriş listeleri için yaptığı patent başvursunu onayladı. Söz konusu patentle sağlanan arayüz ile iPhone kullanıcıları bir UPC kodu girdikten, barkod veya NFC etiketini okuttuktan sonra ürünlerin fiyat ve özelliklerine ilişkin karşılaştırmaya ulaşabilecekler. Ayrıca yine bu patentteki teknoloji sayesinde, Apple’ın alışveriş listesine eklenen bir ürünün satıldığı mağazaya ilişkin yol bilgisi de kullanıcıya iletilecek.
NFC desteği ya da mağazayı tespit etmekten daha ilginç olan özellik ise Apple’ın alışveriş listesinin konum tespiti sayesinde kendisini organize ettiği iddiası. Konum temelli alışveriş listeleri ve ürün bilgisi sağlama özelliğinin Apple tarafından iOS 6 ile sunulmaya başlanacak Passbook servisi ile oldukça uyumlu olduğu kesin. iOS 6 ile kullanıma sunulacak Passbook ile iOS cihaz sahipleri uçuş kartlarını, indirim ve üyelik kartlarını, sinema biletlerini tek bir merkezde toplama şansına erişecekler. Passbook ve söz konusu patentteki teknoloji ile Apple’ın iOS kullanıcılarının satıcılar ve servis sağlayıcılar ile ilişkilerini modernleştirmeye yönünde önemli adımlar attığı görülüyor. Söz konusu teknolojinin Apple tarafından ne zaman kullanılacağı ya da kullanılıp kullanılmayacağı muamma olsa da, kullanılması durumunda Apple’ın elini oldukça güçlendireceği kesin.
İlgili >> Engadget
Teknoloji dünyasının gündemini Teknoblog'un bültenleriyle takip edin.








