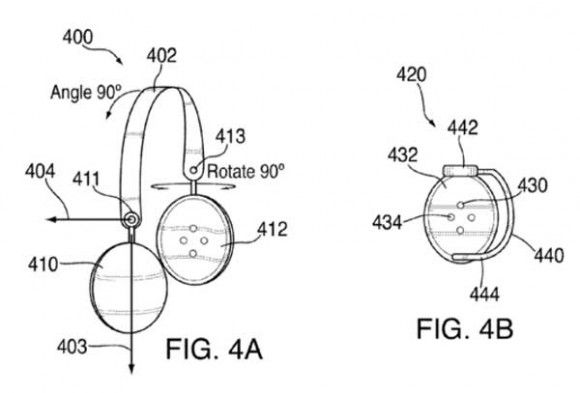
Apple, iki farklı modda çalışan bir yeni nesil kulaklık patenti için başvuruda bulundu. Bu modlardan biri kullanmaya alıştığımız klasik kulaklık modu iken, diğer mod ise kulaklıkları herkesin müzik dinleyebilmesi için hoparlöre dönüştürüyor. Hoparlör modunda sesi daha kaliteli hale getirmek için bir anfi de mevcut.

Pek çok kişinin ikinci modu kulaklıkları çıkarıp sesi de sona getirerek denemiş olması kuvvetle muhtemel. Apple’ın planladığı sistemin ise daha yüksek ve daha kaliteli bir ses vereceği kesin. Apple tarafından yapılan patent başvurusuna göre kulaklıkların alt kısmında yer alan ses portu zaten sesin dışarıya çıkışı sağlanıyor. Patent başvurusunda kulaklığın alt kısmının hoparlör moduna uygun bir pozisyona getirilebildiği de görülüyor. Anfinin kulaklık modunda kullanımını engellemek için bir sensörün de kulaklıkta yer aldığı belirtilirken, patent başvurusunun 2011’in ikinci çeyreğinde yapıldığı ve mucidinin Edward Hyatt olduğu görülüyor.
İlgili >> Patently Apple
Teknoblog, teknoloji gündemini farklı platformlarda düzenli biçimde paylaşıyor. WhatsApp kanalında öne çıkan haberleri anlık olarak aktarıyor, Google Haberler üzerinden güncel içerikleri sunuyor, Instagram ve X hesaplarında dikkat çeken başlıkları özetliyor, YouTube kanalında ise ürün incelemeleri ve detaylı anlatımlarla içeriği tamamlıyor.








