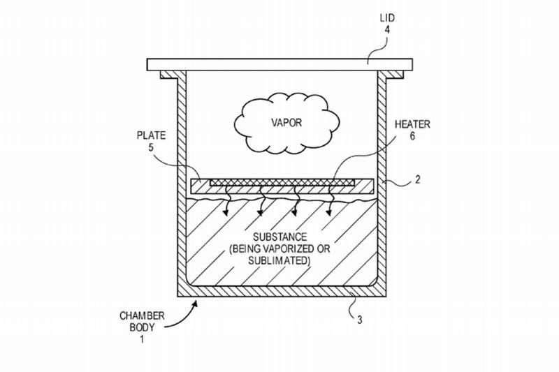
ABD Patent ve Marka Ofisi geçen hafta içinde, Apple tarafından gönderilmiş bir patent başvurusunu yayınladı. Söz konusu başvuru özel bir buharlaştırma teknolojisini detaylandırıyor. Apple’ın geçen yıl başvurusunu gerçekleştirdiği bu patent bir teneke kutu içindeki maddeden yayılan ısıyla sıcaklığı kontrol edebilen bir aygıta ait planları ortaya koyuyor. Ayrıca bu aygıt maddenin yer aldığı bölmenin dışında kalan havanın buharlaştırılmasını sağlıyor.
Apple’ın iVape adında bir buhar cihazı geliştirmeyi planladığını düşünebilirsiniz, ancak hemen bu sonuca atlamayın. Patent başvurusu cihazın hangi maddeyle birlikte kullanılacağını veya bu cihazın dinlenme ve rahatlama amaçlı kullanıma odaklı bir ürün olup olmayacağı şu an için bilinmiyor. Üstüne üstlük başvuruda son kullanıcıdan da bahsedilmiyor.
Apple’ın otomobil teknolojileri üzerine çalıştığı biliniyor. Bu patent başvurusu söz konusu çalışmaların bir parçası da olabilir. Belki de Apple mağazalarının hepsinin aynı kokuya sahip olmasını sağlayacak özel bir teknoloji de bu patent başvurusuyla bağlantılı olabilir. Ayrıca son zamanlarda buhar kullanarak oluşturulan hologramlar da gördük. Apple’ın patent başvurusunun bununla ilgili olması ihtimalini de göz ardı etmemek gerekiyor.
Bu patentin gerçek hayata yansımalarını görmek için biraz beklememiz gerekecek gibi görünüyor. Tabii ki, şirketin her patentinin meyvelerinin gerçek hayata yansıyacağı şeklinde bir şart bulunmuyor. Apple patentleri arasında şeffaf telefon, esnek ekranlı iPad kılıfı, kağıt çanta gibi farklı patentler de bulunuyor. “iVape” olarak nitelendirebileceğimiz bu son patent başvurusu da bunların arasına katılabilir.
Teknoloji dünyasının gündemini Teknoblog'un bültenleriyle takip edin.







